• 12月07日 星期日

告不赢河底捞? 海底捞霸气注册:三每底手劳、海底捡、渠底捞

今年8月火锅连锁店“海底捞”状告“河底捞”商标侵权一事登上中国热搜。海底捞当时“告”河底捞”商标侵权,并要求赔偿经济损失20万元人民币(约4万新元)。

不过中国长沙市天心区人民法院一审后,驳回原告海底捞的诉讼请求,认为河底捞并未侵犯海底捞的商标权。

法院认为,文字商标是否近似,一般要结合音、形、意等方面综合认定。“河底捞”标识与“海底捞”商标虽都有“底捞”二字,但在文字整体字形方面,两者存在一定差异,读音方面,“河”与“海”无论是按普通话读法还是按湖南本地方言读法,均无任何相似性。

另外,两者的店铺的招牌在构图、颜色等方面没有相似性,经营菜谱不同等,故不构成商标权的侵犯。

此判决一公布,立即引起网友热议。

把防山寨做到淋漓尽致(互联网)

虽然打赢了官司,“河底捞”却把招牌改成了“河底鲜”。因为老板娘说:“我们不想再惹麻烦。”

蚁粉觉得该法院说得有道理吗?显然“海底捞”集团的同仁并不这么想,估计也憋了一肚子气。

吃一堑,长一智。

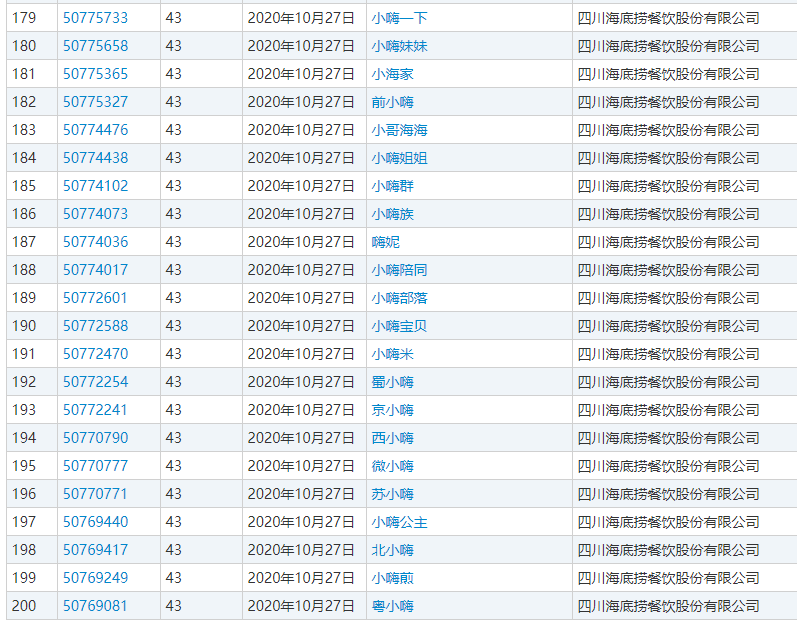
海底捞于是非常霸气的,在短短两天内(10月27日和10月28日),一口气注册了263个商标。11月4日,又新增许多商标。

其实四川海底捞餐饮股份有限公司(海底捞)早前已经申请了上千个新商标,但目前都处于“注册申请中”。目前中国商标网上的记录显示,海底捞共注册有1764个商标。

看来海底捞希望透过这次为自身核心品牌注册大量防御商标后,防止其他商家进行投机取巧的蹭热度和搭便车的侵权行为。

高居财经杂志《福布斯亚洲》(Forbes Asia)的新加坡50大富豪榜榜首,海底捞集团创始人及主席张勇和他的太太坐拥以190亿美元(约260亿新元)的身家,有钱就是能任性。

事不宜迟,先来看看都注册了什么商标。

水域系列:

洋底捞、塘底捞、溪底捞、渠底捞、池底捞、瓢底捞等

红蚂蚁弱弱一问:真的有人会为自己的店取名为“渠底捞”吗?大家又敢去吃吗?

方位系列:

上海底捞、下海底捞、前海底捞、后海底捞、东海底捞、北海底捞、四海底捞、深海底捞、大海底捞、环球海底捞等。

地名系列:

京底捞、赣底捞、苏底捞、粤底捞、蜀底捞、陕底捞、冀底捞、吉底捞、辽底捞、甘底捞、淮底捞、豫底捞等。

朝代系列:

秦底捞、唐低捞、宋底捞、元底捞、明底捞、清底捞等。

同音系列:

嗨滴捞、海底佬、海底老、海底涝、还底捞、海底 KNOW、海低捞、海堤捞、海滴捞、海底耢、嗨底捞、海嘀捞等。

奇葩系列:

海底捞还围绕“嗨”字一口气申请了86个商标,包括“小嗨妹妹”、“乖小嗨”、“小嗨家”等。

把防山寨做到淋漓尽致(截自中国国家知识产权局商标局) 把防山寨做到淋漓尽致(截自中国国家知识产权局商标局)

令人哭笑不得的是,就连“三每底手劳”、“海底捡”这些商标名都没有被海底捞放过。

网民纷纷表示:

简直是取名天才!只有你想不到,没有海底捞申请不了的!

其实,像海底捞这样注册多个商标的企业,早有先例。

“老干妈”注册了老千妈、老于妈、妈干老等192个相似商标。

娃哈哈同时注册了哈哈娃、哈娃娃、娃娃哈等商标。

大白兔注册了巨大白兔、巨白兔、金兔、大黑兔、大花兔、大灰兔、大红兔;

小米也先后注册了大米、紫米、绿米等各种颜色的米商标。

星巴克也注册了星爸爸、新巴克、星星巴、星吧克、 巴巴克……

阿里巴巴注册了阿里弟弟、阿里爷爷、阿里奶奶等一系列家族式商标。

阿里巴巴目前全球注册商标与专利约为3万件,还建立了自己的商标注册平台。

上一篇新闻

不认输不靠谱的总统,想拖着国家和他一起完蛋

下一篇新闻

不帅不要紧? 新加坡女性向往与“高富”对象约会

评论

订阅每日新闻

订阅每日新闻以免错过最新最热门的新加坡新闻。